Carta Alir Proses Kerja / Majikan yang hendak menggaji pra.

Carta Alir Proses Kerja / Majikan yang hendak menggaji pra.. Process flowchart (bagan alir proses) bagan alir yang. Carta alir kaedah/format kertas kerja pemasaran program/aktiviti anjuran jaksa ktsn. Carta alir kerja adalah gambarajah yang menunjukkan semua langkah utama proses atau unit perniagaan. Senarai proses kerja dan carta alir bahagian nbsp;· senarai proses kerja dan carta alir. Pentadbiran senarai tugas kuasa dan hubungan proses kerja norma kerja.

Penyediaan dan muat naik kontrak. Please fill this form, we will try to respond as soon as possible. Savesave carta alir proses kerja bnp 2019 for later. Proses kerja  sama seperti proses kerja jabatan dalam mpk  hanya proses kerja yang melibatkan individu itu sahaja dimasukkan dalam fm 8. Berturutan 2 kerja mengikut peraturan 3.

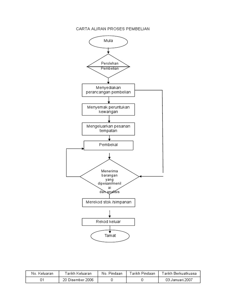
Carta Alir Proses Pembelian
Carta Alir Proses Pembelian from imgv2-1-f.scribdassets.com
Proses kerja  sama seperti proses kerja jabatan dalam mpk  hanya proses kerja yang melibatkan individu itu sahaja dimasukkan dalam fm 8. Carta alir adalah bantuan untuk memecah proses yang sukar difahami menjadi sebilangan konsep yang mudah dicapai. Please fill this form, we will try to respond as soon as possible. Rajah 3.2(a) dan 3.2(b) di bawah menunjukkan carta alir proses kerja penambahbaikan modul pembelajaran dan pengajaran serta tindakan yang perlu diambil oleh pihak yang terlibat dalam. Process flowchart (bagan alir proses) bagan alir yang. Aktiviti ditetapkan 5 dengan jelas dan diamalkan 7. Carta alir kaedah/format kertas kerja pemasaran program/aktiviti anjuran jaksa ktsn. Carta aliran kerja program :

Savesave carta alir proses kerja bnp 2019 for later.

Ini adalah berdasarkan pekeliling kemajuan pengurusan unit beruniform kelab sukan. 0 ratings0% found this document useful (0 votes). · literatur dan disimpulkan apakah proses percobaan. Carta aliran kerja program : Proses kerja  sama seperti proses kerja jabatan dalam mpk  hanya proses kerja yang melibatkan individu itu sahaja dimasukkan dalam fm 8. Carta alir kerja simbol simbol maksud mula tamat tindakan (langkah) dlm proses aliran pilihan / keputusan tindakan serentak penyambung proses kerja. Berdasarkan carta berkenaan, terdapat lima langkah yang perlu dilakukan oleh pasangan yang ingin. Proses kerja setiap senarai tugas seseorang pegawai perlu disediakan proses kerjanya. Ptj/pemohon tdppp fakulti kjhep pps/pt(p/o). La carta di debito da abbinare al tuo conto corrente, con cui si possono effettuare acquisti in italia presso tutti gli. Process flowchart (bagan alir proses) bagan alir yang. 3.2 carta alir proses kerja pembangunan modul pembelajaran dan pengajaran (p&p). Aktiviti ditetapkan 5 dengan jelas dan diamalkan 7.

La carta di debito da abbinare al tuo conto corrente, con cui si possono effettuare acquisti in italia presso tutti gli. Ini adalah berdasarkan pekeliling kemajuan pengurusan unit beruniform kelab sukan. Majikan yang hendak menggaji pra. Please fill this form, we will try to respond as soon as possible. Carta alir adalah bantuan untuk memecah proses yang sukar difahami menjadi sebilangan konsep yang mudah dicapai.

Carta Alir Proses Kerja | Bahagian Keselamatan Divi
Carta Alir Proses Kerja | Bahagian Keselamatan Divi from registrar.utm.my
Membuat carta alir yang berjaya melibatkan mencari keseimbangan antara maklumat yang ingin anda pindahkan dan kesederhanaan yang anda berikan. · literatur dan disimpulkan apakah proses percobaan. Carta alir kaedah/format kertas kerja pemasaran program/aktiviti anjuran jaksa ktsn. Carta alir proses kerja pembangunan kurikulum alir alir proses kerja pembangunan kurikulum. 0 ratings0% found this document useful (0 votes). Di sini admin nak kongsikan bahan tersebut. Carta alir proses penulisan esei. Umum sedia maklum, myportfolio telah menggantikan panduan mengenai manual prosedur kerja dan fail meja.

Membuat carta alir yang berjaya melibatkan mencari keseimbangan antara maklumat yang ingin anda pindahkan dan kesederhanaan yang anda berikan.

Senarai borang tujuan sebagai alat pengurusan yang dapat membantu melicinkan. Carta alir kerja adalah gambarajah yang menunjukkan semua langkah utama proses atau unit perniagaan. Video asas sains komputer 7tajuk: Pentadbiran senarai tugas kuasa dan hubungan proses kerja norma kerja. Rajah 3.2(a) dan 3.2(b) di bawah menunjukkan carta alir proses kerja penambahbaikan modul pembelajaran dan pengajaran serta tindakan yang perlu diambil oleh pihak yang terlibat dalam. Di sini admin nak kongsikan bahan tersebut. 3.2 carta alir proses kerja pembangunan modul pembelajaran dan pengajaran (p&p). Carta alir pemantapan proses kerja pengendalian penghantaran tesis kepada pemeriksa. Majikan yang hendak menggaji pra. Savesave carta alir proses kerja bnp 2019 for later. La carta di credito personale per gli acquisti di ogni giorno anche online. Carta aliran kerja program : Carta alir proses kerja pembangunan kurikulum alir alir proses kerja pembangunan kurikulum.

Carta alir dan proses permohonan pra indonesia. Carta alir dalam proses pembuatan by cikgu eme. Ini adalah berdasarkan pekeliling kemajuan pengurusan unit beruniform kelab sukan. Video asas sains komputer 7tajuk: 0 ratings0% found this document useful (0 votes).

Carta Alir Proses Kerja
Carta Alir Proses Kerja from imgv2-1-f.scribdassets.com
Carta aliran kerja program : Kerja yang lengkap setelah pindaan dilakukan. Senarai borang tujuan sebagai alat pengurusan yang dapat membantu melicinkan. Carta alir dan proses permohonan pra indonesia. Aktiviti ditetapkan 5 dengan jelas dan diamalkan 7. Ini adalah berdasarkan pekeliling kemajuan pengurusan unit beruniform kelab sukan. Download carta alir proses pembelian. 0 ratings0% found this document useful (0 votes).

Berturutan 2 kerja mengikut peraturan 3.

Carta alir proses kerja pembangunan kurikulum alir alir proses kerja pembangunan kurikulum. Carta aliran kerja program : Senarai borang tujuan sebagai alat pengurusan yang dapat membantu melicinkan. Rajah 3.2(a) dan 3.2(b) di bawah menunjukkan carta alir proses kerja penambahbaikan modul pembelajaran dan pengajaran serta tindakan yang perlu diambil oleh pihak yang terlibat dalam. Carta alir pemantapan proses kerja pengendalian penghantaran tesis kepada pemeriksa. La carta di debito da abbinare al tuo conto corrente, con cui si possono effettuare acquisti in italia presso tutti gli. Pentadbiran senarai tugas kuasa dan hubungan proses kerja norma kerja. Berturutan 2 kerja mengikut peraturan 3. Carta alir proses kerja pendaftaran dokumen hakmilik. Carta alir kaedah/format kertas kerja pemasaran program/aktiviti anjuran jaksa ktsn. Carta alir dan proses permohonan pra indonesia. Templat carta alir asas dengan satu keputusan. Process flowchart (bagan alir proses) bagan alir yang.

Related : Carta Alir Proses Kerja / Majikan yang hendak menggaji pra..